1、引言
随着电子技术的飞速发展,未来战场上的各种武器系统面临着严峻的威胁,隐身技术已经被认为是提高武器系统生存能力和突防能力的有效手段。屏蔽材料的发展和应用是隐身技术发展的关键因素之一,受到世界各主要军事国家的高度重视。国外已经出现了不少兼容多频段的隐身材料ZL,目前国内一些单位也分别研制了多波段伪装遮障,采用可见光、红外、雷达兼容隐身设计技术,实现了多波段隐身。尽管目前隐身屏蔽材料已在微波、红外等波段取得了很大的成果,但目前在太赫兹频段之间的研究甚少。
太赫兹辐射通常指的是频率在(0.1~10)THz(波长在30μm~3mm)区间的远红外电磁辐射,其波段位于微波和红外之间。它的独特性能给通信、雷达、电子对抗、电磁武器、安全检查等领域带来了深远的影响,也将在军事防御和安全方面引发新的变革。
应用太赫兹光谱技术对屏蔽材料进行研究应用于军事、国防、航天与安全等领域有重大意义。为此对四种屏蔽布在太赫兹波段的屏蔽性进行了实验研究,得到了这几种屏蔽布的折射率曲线和屏蔽效能曲线,实验表明这几种材料对太赫兹波有很好的屏蔽效能,在某种程度上可以做太赫兹屏蔽材料使用。
2、电磁屏蔽
电磁屏蔽主要是用来防止高频电磁场的影响,从而有效地控制电磁波从某一区域向另一区域进行辐射传播。其基本原理是采用低电阻值的导体材料,利用电磁波在屏蔽导体表面的反射、在导体内部的吸收及传输过程的损耗而产生屏蔽作用,通常用屏蔽效能(SE)表示。其值用不存在屏蔽时空间防护区的场强(E1 或H1)与存在屏蔽时该区的场强(E2或H2)的比值来度量,单位是分贝(dB)。公式定义为:
SE=20log(E1/E2) (1)
SE=20log(H1/H2) (2)
SE=10log(P1/P2) (3)
式中,E1,E2 为屏蔽前、后的电场强度;H1,H2 为屏蔽前后的磁场强度;P1,P2 为屏蔽前后的能量场强度。影响屏蔽效能SE的因素很多,主要是电磁场的频率及材料的电磁参数。
通常,屏蔽效能的具体分类为:0~10dB几乎没屏蔽作用;10~30dB有较小的屏蔽作用;30~60dB中等屏蔽效能,可用于一般工业或商业用电子产品;60~90dB屏蔽效能较高,可用于航空航天及军用仪器设备的屏蔽;90dB以上的屏蔽材料则具有最好屏蔽效能,适用于要求苛刻的高精度、高敏感度产品。根据实用需要,对于大多数电子产品的屏蔽材料,在30~1000Hz频率,其SE至少达到35dB以上,才认为是有效的屏蔽。
3、实验装置与样品
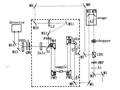
实验用的是首都师范大学物理系太赫兹时域光谱透射系统(如图1所示),主要由飞秒激光器、太赫兹辐射产生装置、太赫兹辐射探测装置和时间延迟控制系统组成。此系统使用的是由光谱物理公司生产的自锁模可调谐式钛蓝宝石激光器,其脉冲中心波长为800nm,重复频率为82MHz,脉宽为100fs,输出功率为1043mW。钛蓝宝石产生的飞秒激光脉冲经分束棱镜(CBS)被分为两束,一束作为泵浦光,另一束作为探测光。泵浦光经过频率为1.1kHz的斩波器调制,通过时间延迟台入射到透镜L1,经透镜聚焦以45°入射角照射在<100>-InAS晶体表面上,从而辐射出太赫兹脉冲,经两对表面镀金的离轴抛面镜准直和聚焦,通过一个高阻硅薄片,聚焦在<110>-ZnTe晶体上;另一束激光脉冲—探测光经过一系列的反射镜、透镜L2、偏振片P与太赫兹脉冲同时聚焦在<110>-ZnTe晶体的同一位置,此时ZnTe晶体中发生电光效应。偏振态被调制的探测光经过四分之一波片(QWP)和透镜L3聚焦到渥拉斯顿棱镜(PBS),分为偏振方向互相垂直的两个分量,被差分探测器———光电二极管探测,经锁相放大器解调后输入计算机利用Labview编写的控制软件得到太赫兹脉冲时域信息。本文利用这个装置探测到的有效谱宽是(0.1~2.5)THz,频谱分辨率50GHz,信噪比600。实验中,我们把样品放置在能量较高的离轴抛面镜PM2焦点处,并与入射光方向垂直。实验时为了降低空气中水分对太赫兹波的吸收,在光路虚线框内冲入氮气,使得探测时环境的湿度低于5%,实验温度是21℃。为保证实验准确,实验中每测一种样品就测一个参考信号。

图1、太赫兹光谱实验系统
样品中四种特种电磁波屏蔽材料购于北京京棉华星特种屏蔽材料技术有限责任公司,经过相关单位证明该公司生产的ZL屏蔽布在微波达到B级以上的屏蔽效能,并且具有防水、防晒等特点,可用在军事上做屏蔽帐篷、屏蔽门、屏蔽拉链等用途,也可民用生活中做手机屏蔽套,微波炉防护套及孕妇服等减少或防止微波与红外辐射的伤害。该屏蔽该材料是以棉花纤织物为基料,经过理化处理,将金属元素渗透到其组织结构中。它在保持原有织物特性的基础上,又具有了屏蔽作用。深浅迷彩色屏蔽布的厚度均为0.38mm,砖红色和灰色屏蔽布的厚度分别为0.28mm,0.12mm。
硅介质超表面器件示意图以及其对太赫兹波超快调控的实验结果当前研究的太赫兹主动调控器件功能比较单一,即只能在单一外场下实现单一的功能。但单一功能难以适应当今技术发展的要求。因此,在单一器件上,实现多物理......
1、引言随着电子技术的飞速发展,未来战场上的各种武器系统面临着严峻的威胁,隐身技术已经被认为是提高武器系统生存能力和突防能力的有效手段。屏蔽材料的发展和应用是隐身技术发展的关键因素之一,受到世界各主要......
1、引言随着电子技术的飞速发展,未来战场上的各种武器系统面临着严峻的威胁,隐身技术已经被认为是提高武器系统生存能力和突防能力的有效手段。屏蔽材料的发展和应用是隐身技术发展的关键因素之一,受到世界各主要......