Toggle navigation
百科搜索
前沿LAB
产品中心
群组
博客
论坛
平直度检查仪的仪器基本结构
发布时间:2023-01-31 14:07 原文链接:
平直度检查仪的仪器基本结构
仪器基本结构
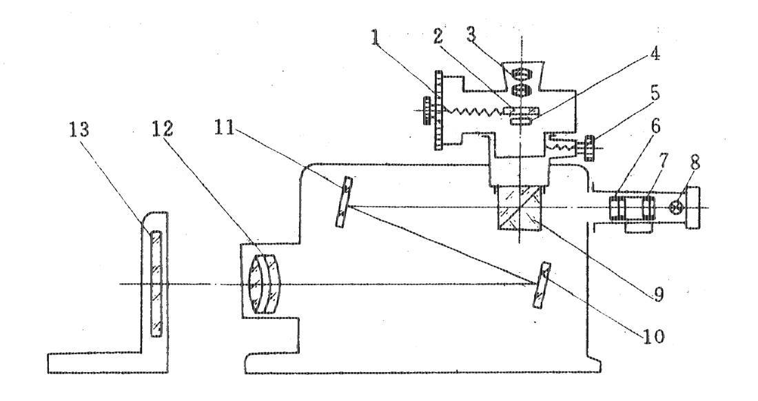
平直度检查仪结构
如图《平直度检查仪结构》所示1~4组成了测微目镜部件,测量前可松开定位螺钉5,由于两锥孔在圆周上互成90o ,可使整个目镜头就可精确地转过90度。
其他网友还关注过
平直度检查仪的仪器基本结构
平直度检查仪的仪器的操作与使用
平直度检查仪的应用
平直度检查仪的偏差来源
平直度检查仪的测微原理
平直度检查仪的光路原理
平直度检查仪的主要技术参数
影响基线平直度的主要因素
检查基线平直度超差怎么办
保证或提高基线平直度指标的措施
更多与 平直度检查仪的仪器基本结构 相关的新闻